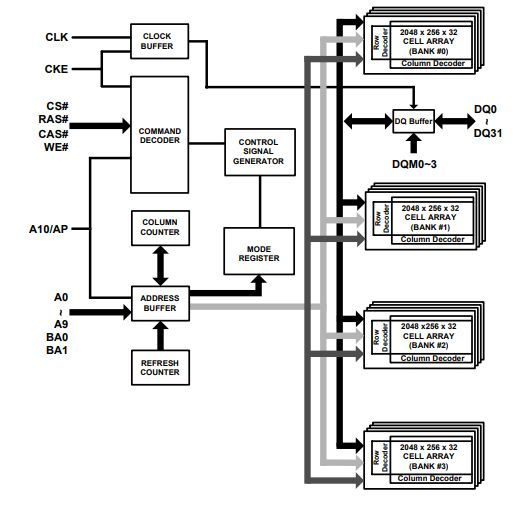
Double data rate II(DDR2)SDRAM can increase the data transmission bandwidth by leaps and bounds by increasing the I O clock to twice that of DDR,which provides stable and reliable data buffering support for communication equipment,industrial control and e
In the optical storage and charging system,there are dense power modules,strong adaptability to the environment and high requirements for safety and redundancy,which put forward strict requirements for temperature monitoring
In the design of embedded system,on-chip SRAM,as a key data temporary storage unit,directly affects the operating efficiency and data throughput of the processor Weiling Chuangxin SRAM product line has a maximum capacity of 64Mb,providing different capaci
Bluetooth low power (BLE) technology has become an ideal choice for local communication of prepaid electric meters due to its advantages of low cost, easy networking and high compatibility
In the third quarter of 2025,driven by the accelerated deployment of AI infrastructure by cloud service providers,the demand for enterprise solid state drives(Enterprise SSD)continued to strengthen
In the design of embedded system,the expansion of RAM resources has always been the focus of developers Especially with the rise of Internet of Things,intelligent voice,image processing and other applications